服务热线
0577-62755895

更新时间:2026-03-27
访问量:71
手机号码:13968710797
电话号码:0577-62755895
传真号码:0577-62755895
电子邮箱:1605874299@qq.com
公司名称:乐清市川泰电力设备有限公司
公司地址:浙江省柳市长荣路1-7
服务热线
0577-62755895
产品分类
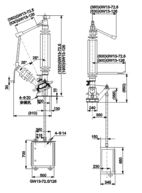
GW13系列中性点隔离开关是在无载荷情况下,分何变压器中性点联线之用,在闸刀处于正常分闸位置时,可提供一个符合安全要求的绝缘距离。操动机构输出轴可作180度水平旋转,操作机构上的定位装置能保证触头与静触头处于正确位置或分断位置。本中性点隔离开关满足GB1985《交流高压隔离开关和接地开关》及IEC-129(1984)标准要求。它性能可靠、运行安全、结构简单、安装调整方便。广泛使用于63KV-110KV变电站。
1、改进了轴承转盘结构,使轴承座实现了防水功能。且配有注油孔、调整螺钉,开关的整体性强且维护更加简单、方便。
2、导电杆与触头之间、导电杆与触指座之间均采用铜焊工艺,另外触指与触指座之间加装软连接,使产品的主回路电阻比采用螺钉连接的大幅减小,从而减少触头在运行中的发热问题。接地导杆采用导电性能优良的铝合金,触头部分采用铜铸件,导电杆与底座连接处及接地触指与触指座之间均加装软连接,因此接地回路的导电性能大大的增强。
3、导电外露部分均采用紫铜镀银的表面处理工艺,镀银处理,表面光洁、美观、抗腐蚀能力强、持久耐用。
4、改进轴与孔配合方式:铁与铜配合改为铜与铜配合或不锈钢与铜配合,解决了在户外长期使用出现的咬死现象。外露标准件采用不锈钢;金属件采用热镀锌处理,开关的耐腐蚀能力更强。
单位 | GW13-72.5 | GW13-126 | |
额定电压 | KV | 72.5 | 126 |
额定电流 | A | 630 | 630 |
额定短时耐受电流4s | KA | 20 | 20 |
额定峰值耐受电流 | KA | 50 | 50 |
1min工频耐压(有效值) | KVs | 140 | 230 |
雷电冲击耐压(峰值) | KV | 325 | 450 |
机械寿命 | 次 | 2000 | 2000 |
分闸后最小绝缘间隙 | mm | >675 | >1050 |
主回路电阻 | μΩ | <180 | <200 |
配用机构 | ? | GS17或GJ6、CK7、CS14 | |
单极重 | kg | 160 | 200 |

